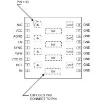
NB694GD
Популярный
Наличие:
Есть в наличии
Код Товара: 23484-01
Артикул: 22532
Производитель: MPS
610.00р.
Без НДС: 610.00р.
Нашли дешевле ?
Краткое описание
NB694GD... Читать далее...
NB694GD
Недавно просмотренные





