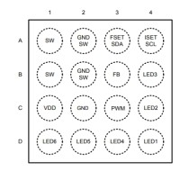
RT8206M
Наличие:
Есть в наличии
Код Товара: 28419-01
Артикул: 12989
Производитель: Richtek
220.00р.
Без НДС: 220.00р.
Нашли дешевле ?
Краткое описание
RT8206M... Читать далее...
RT8206M
Недавно просмотренные









